Test du téléviseur Thomson 55 » 55QG7C14 QLED Pro – Unboxing
L'été dernier, ma Toshiba Regza 40LV675D a commencé à manifester des signes de faiblesse. Au bout d'un temps variable (5 min à plusieurs heures), l'image disparaissait alors que le son continuait à se faire entendre, que ce soit en TV ou HDMI. J'ai dévissé une vingtaine de vis, démonté le capot (après avoir attendu 24 heures après l'avoir débranchée), m'attendant à trouver des condensateurs en mauvais état. Ils avaient tous l'air normal, mais je les ai quand même tous changés, à tout hasard (leur coût est tellement faible que ça valait le coup de tenter). Aucune amélioration (ni aggravation, d'ailleurs).
Impossible de trouver la moindre pièce détachée pour cette TV déjà ancienne (c'est un modèle sorti en 2009). J'ai attendu, espérant trouver une idée. La faire réparer par un pro était peu envisageable, en admettant de trouver un réparateur. C'est une panne intermittente, et j'imagine mal le réparateur tester plusieurs heures si sa réparation a fonctionné.
Cela me fendait le cœur de la jeter, car je savais qu'aucune TV actuelle ne proposerait une connectique aussi riche. Mon ancienne Toshiba avait 3 péritel, 3 HDMI, 3 composante (trio de connecteurs YPbPr), 1 composite (RCA jaune), 1 S-video et un VGA. Le grand luxe. Désormais, on ne peut plus espérer que du HDMI, à la rigueur un AV IN dont on peut se demander s'il sera compatible avec nos antiques magnétoscopes.
Mon cahier des charges :
- UHD (image 4K) sur un écran 42 » voire plus. Une fréquence d'affichage plus élevée que la moyenne serait un plus.
- plus puissante et plus rapide que la Philips 32PFS6906 qu'on utilise depuis quelques mois en interim, et qui est d'une horripilante lenteur.
- Un max de ports HDMI et USB + un port AV (un port péritel ? Faut pas rêver…).
- un vrai Android TV. Pas envie de devoir composer avec des logiciels propriétaires aux stores indigents. Ce qui exclut Samsung, LG, Panasonic Hisense, JVC, Toshiba, Medion.
C'est au bout d'une étude de marché de plusieurs mois que j'ai finalement opté pour la Thomson 55 » 55QG7C14. Il s'agit d'un modèle sorti fin 2024. Ses points forts, outre le fait que le modèle répondait à mes critères, était son pied central (pour pouvoir la poser sur le petit meuble où se nichait la platine DVD), sa télécommande rétro-éclairée et bien sûr, son prix raisonnable. Et puis, après 6 mois de TV de remplacement, j'en avais un peu marre de Philips…
Ce modèle existe aussi en 43 (43QG7C14), 50 (50QG7C14), 65 (65QG7C14) et même 100 pouces.
Plusieurs influenceurs l'ont testée avec succès (ou d'autres modèles voisins de la même marque), mais en général ils s'appesantissent surtout sur ses performances comme écran de gaming ou en la testant sur des plateformes de streaming. Plus personne ne regarde donc la télé hertzienne ?
L'acheter chez Darty L'acheter chez Cdiscount
Photos et description du fabricant
Dimensions

Connectique

Profitez d'images fluides et d'une réactivité exceptionnelle en qualité 4K UHD avec le téléviseur Thomson Google TV 55″ QLED Pro.
Un taux de rafraîchissement de 144 Hz garantit des images fluides et réactives, idéales pour les contenus dynamiques comme les films d'action, le sport et les jeux vidéo. Cette caractéristique réduit le flou de mouvement et le décalage d'affichage, pour une expérience visuelle et de jeu optimale.
Grâce à la technologie Quantum Dot, l'écran QLED offre une luminosité équilibrée, des contrastes saisissants et une gamme de couleurs étendue. Associée à la résolution 4K Ultra HD, elle vous permet de capturer chaque détail et de vous immerger dans des images d'une netteté exceptionnelle. La technologie Dolby Vision améliore la luminosité de chaque scène, assurant une reproduction précise des couleurs pour des images plus vraies que nature. Plongez au cœur de l'action avec un son dynamique Dolby Atmos pour une expérience télévisuelle immersive.
Google TV simplifie vos divertissements en organisant le contenu de vos applications et abonnements. Créez plusieurs profils d'utilisateurs et profitez de recommandations personnalisées. Accédez à une large gamme de fonctionnalités intelligentes, telles que plus de 400 000 films et séries, la commande vocale intelligente avec l'Assistant Google et Chromecast intégré pour diffuser du contenu depuis des appareils compatibles. Votre téléviseur.
La télécommande ergonomique avec rétroéclairage doux vous permet de tout contrôler, même dans une faible luminosité. L'Assistant Google intégré vous permet de contrôler intuitivement votre téléviseur par la voix. Recherchez vos films préférés, demandez des recommandations en fonction de votre humeur ou contrôlez vos appareils connectés compatibles, le tout simplement avec votre voix.
Profitez d'une plus grande flexibilité d'installation grâce au pied pivotant central et optimisez votre expérience visuelle. Sa conception innovante vous permet de faire pivoter votre téléviseur jusqu'à 30 degrés sans effort, pour trouver l'angle parfait pour votre installation multimédia.
Le triple tuner intégré permet la réception par satellite, antenne terrestre ou câble. Recevez facilement toutes les chaînes disponibles sans matériel supplémentaire.
Caractéristiques
- Taille de l'écran : 55” / 139 cm
- Type de technologie : LED directe
- Fréquence d'affichage : 144 Hz
- Processeur : CA75 à 1,3 GHz + CA55 à 1,15 GHz
- Résolution d'affichage : 3840 x 2160 (4K UHD)
- Angle de vision : 178/178°
- Profondeur de bits de couleur : 10 bits (1 milliard)
- Dolby Vision √
- HDR 10
- Désentrelacement adaptatif √
- Réduction dynamique du bruit √
- QLED √
- AUDIO AV Stéréo √
- Puissance de sortie audio (W) 2×10
- Égaliseur/Équilibrage √
- Dolby Atmos √
- Digital Surround √
FONCTIONNALITÉS INTELLIGENTES
- Système d'exploitation intelligent
- Google TV™ (Android™ 11)
- HbbTV √
- Lecteur multimédia √
- Commande vocale Assistant Google Chromecast intégré √
CONNECTIVITÉ
- Wi-Fi intégré √
- Bluetooth √
- HDMI 2x 2,1 + 2x 2,0 (eARC + CEC)
- 2 Ports USB 2.0 + 1 port USB 3.0
- S/PDIF (coaxial/optique) 1x optique
- OFF IN √
- Ethernet (RJ-45) √
- CI+ √
- DVB-T/T2/C/S/S2 √
- HEVC/H.265 √
- Sat: DiSEqC 1.0 / 1.1 / 1.2
- Unicable I / Unicable II √
- Casque audio jack √
DONNÉES GÉNÉRALES
- Classe énergétique F (SDR et HDR)
- Consommation d'énergie en 76 kWh/1000h SDR, 77 kWh/1000h HDR
- Support mural VESA (non inclus) 200×200
- Position debout/pieds Pied pivotant central
- Couleur Noir
- Dimensions (L x P x H) 1227x78x712 sans support, 1227x281x744 avec support
- Dimensions du carton (L x P x H) 1325x151x843
- Poids : 14,73 kg sans carton 18,2 kg avec carton
- Assemblé en Hongrie
- Code EAN 9120106662399
Déballage
La télévision est livrée dans une imposante boîte en carton (il a fallu rabattre les banquettes arrière pour la faire rentrer dans notre Peugeot 208) entourée de deux liens plastiques, carton heureusement muni de deux trous pour en faciliter le transport. Ca se porte à deux, ou alors il faut un diable. Les textes de cette boîte sont intégralement écrits en anglais.

Sur les faces avant et arrière, le logo de la marque, la mention QLED 55 » 4K Ultra HD Smart TV (bizarrement le nom du modèle n'est pas mentionné). En-dessous, le visuel du produit (avec une légende localisant la photo dans les vignobles de la Vallée du Rhône, alors qu'elle montre 2 voitures de course) surmonté dans le coin droit par un carré rouge promettant 3 ans de garantie. A droite, les logos des différents services de streaming probablement préinstallés (Netflix, Prime, Disney+, YouTube etc). En dessous, des pictos présentent les points forts du produit : télécommande rétroéclairée, Wi-Fi, bluetooth, triple tuner (terrestre, câble, satellite), Dolby vision Atmos (technologies HDR et d'optimisation sonore qui promettent des images détaillées et nuancées, et un son surround immersif et réaliste), balayage 144 Hertz, pied rotatif, Chromecast intégré, marque européenne. Tout en bas, l'URL du site mythomson.com. En bas à droite, la mention « Hey Google » (les mots qu'on est censée prononcer quand on veut s'adresser à Google assistant).

Sur le dessus on retrouve le logo de la marque, les 3 ans de garantie ainsi que de nombreux pictos qui expliquent comment positionner le carton (en gros à la verticale, le sommet en haut) et comment manipuler et déballer sans risque d'endommager son contenu. On nous indique également où se trouve l'avant du téléviseur dans le carton.

Sur les deux côtés de la boîte, le logo Thomson, la mention Google TV, le résumé des spécifications et des services supportés, la liste des éléments inclus : la télé bien sûr avec son pied central rotatif, un câble d'alimentation, une télécommande bluetooth, un câble AV IN, et un duo de piles AAA 1,5 V.
Sous l'encoche de transport, on nous rappelle à nouveau que ce modèle bénéficie de 3 ans de garantie. A côté, un QR code à scanner pour plus d'informations, qui mène à la fiche du produit sur le site du fabricant. En dessous, l'étiquette énergie nous informe que ce modèle est classé F et consomme 76 kWh/1000 h (77 quand la technologie HDR est utilisée). En dessous, la diagonale en cm de l'écran et ses dimensions en pixels. En dessous un code-barre avec le nom du modèle.
Enfin tout en bas une série de logos de norme (participe au financement d'un système de gestion des déchets d'emballage, produit recyclable, côté supérieur, fragile, craint l'eau, CE, ???, doit être apporté dans un point de collecte), ainsi que un avertissement nous informant que les fournisseurs d'applications et de service peuvent collecter et utiliser des informations et données techniques sur les logiciels et les périphériques, mais (espérons) aucune info permettant de nous identifier personnellement
Encore en dessous, 33 sigles de langue. Je me demande si la notice sera rédigée dans toutes ces langues (je constaterai plus tard… qu'il n'y a pas de notice papier fournie !), ou alors est-ce que le firmware les propose. De toute façons on est sous Android, donc c'est multilingue. Et tout en bas, on nous avertit que ce modèle est prévu pour un usage intérieur uniquement, dans les pays membres de l'Union européenne et de l'EFTA (European Free Trade Association c'est à dire Association européenne de libre-échange).

Le fond de la boîte, un peu poussiéreux, affiche le logo de la boîte et un pavé de texte qui nous informe que le vrai fabricant est Streamview GmbH, une marque autrichienne, sous licence. On nous avertit également qu'en raison des évolutions permanentes des recherches et développement, il peut y avoir des changements de le design et l'apparence. Mais aussi que les marques YouTube Chromecast etc sont des marques déposées de Google, que Google assistant n'est pas disponible dans certains langages et pays, et ainsi de suite pour toutes les marques citées.

On découpe l'adhésif transparent sur le dessus de la boîte avec un cutter. À l'ouverture, on tombe sur un gros bloc de polystyrène.

Dans ses trous, d'un côté l'axe du pied de la télé, de l'autre la plaque-support du pied, qui est scotchée au morceau de polystyrène avec un adhésif transparent comportant un code-barre.

Le morceau de polystyrène une fois retiré, on arrive sur la télé, qui est emballée (ou presque) par un sac en plastique translucide. J'écris « ou presque » parce que le sac est troué.

Afin d'avoir une bonne prise pour extraire la télévision du carton, ils ont eu la bonne idée de ménager 2 poignées dans le sac plastique, dont je ne sais toujours pas pourquoi il est crevé à un endroit, On s'y met à deux. Elle n'est pas vraiment lourde, mais elle pèse quand même son poids.

Au fond, niché dans le bloc de polystyrène du bas, on trouve un sachet plastique zippé.

Il contient la télécommande (rectangulaire, mesurant 21 x 4,4 cm), ses 2 piles de la marque Tinko, le câble d'alimentation (1,41 m sans connecteur), le fameux câble AV (vraiment court) qui est d'un côté jack, de l'autre triple RCA (composite, audio D et audio G). Il y a aussi de la documentation et 2 sachets de vis cruciformes (un sachet de 3 et un sachet de 6) qui vont servir à monter le pied.

Les côtés de la télécommande sont protégés par un film plastique transparent.

Parmi les documents, des autocollants (notamment une fiche énergie) qu'on s'attendrait à retrouver déjà posés sur le téléviseur, et qu'on n'utilisera pas. On retrouve aussi un dépliant d'instructions d'installation, qui ne vont pas beaucoup plus loin que le montage du pied et l'introduction des piles dans la télécommande, une carte de garantie et un livret d'informations importantes concernant le produit (déclaration de conformité protection des données etc). Mais pas de notice ! ils sont gonflés… Il va falloir aller la chercher sur le site officiel. Elle fait 88 pages et n'est pas exclusive à ce modèle.

Le pied est en deux parties : un axe qui se fixe avec 6 vis au téléviseur, et une plaque carrée à coin arrondi muni de 4 disques antidérapants, et dont le verso est un vrai attrape traces de doigts (et malheureusement n'est pas recouvert d'un film plastique protecteur).

Ces deux parties sont en métal noir assez lourd. Mais je trouve que le pied n'est pas très large (il mesure 28 x 28 cm) et je crains pour la stabilité de la télé.

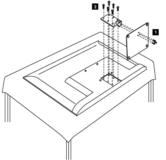
Au verso de la télé, on retrouve les 4 vis pour fixation VESA, les 6 vis pour fixation du pied, 16 vis cruciformes permettant le démontage du panneau arrière

À droite, le port CI (common interface, accueille le module dans lequel on glisse la carte permettant de décryptage de programmes de TV payants ou les chaînes de la TNT quand on ne peut les capter que par satellite), un port USB 3.0 délivrant 1 A, une prise antenne, une prise satellite et un port HDMI. À gauche le connecteur pour le câble secteur.

Au milieu, trois autres ports HDMI dont un eARC (Audio Return Channel ou canal de retour audio, utile pour brancher une barre de son), deux autres ports USB délivrant du 500 mA, un port jack pour le casque, un port Jack AV IN, un port RJ45 pour brancher un câble réseau et une prise pour câble optique (pour envoyer le son vers une barre de son, un ampli home-cinéma…).

Évidemment, aucune prise péritel, VGA ou autre…
Un autocollant décrit le modèle, ses spécifications électriques, avertit que l'appareil ne doit pas être ouvert sauf par un technicien qualifié, et informe (à nouveau) que l'appareil est fabriqué par Streamview et utilise la marque Thomson sous licence. On a également les logos Dolby, HDMI, un picto cadmium barré, un picto double isolation, CE et poubelle barrée, ainsi qu'un code barre.
Un cartouche gravé averti du risque de choc électrique et prévient qu'il ne faut pas retirer l'arrière ou les pièces réparables à l'intérieur, il faut contacter un service technique qualifié.

En bas, ce que je suppose être les grilles des haut-parleurs, les dispositifs de fixation pour d'éventuels pieds latéraux…

… et, au centre, ce que je découvrirai plus tard comme étant le bouton power

Montage du pied

Le pied est très facile à poser, les vis s'adaptent bien. On commence par le montant qui se fixe avec 6 vis.

Le pied se monte face longue vers l'avant

L'écran de la télé est recouvert d'un film plastique renforcé par quelques adhésifs latéraux.

L'ensemble est relativement facile et rapide à retirer. Quelques adhésifs latéraux s'accrochent un peu, mais dans l'ensemble tout s'enlève bien et surtout sans laisser la moindre trace de colle.

On a l'impression d'inaugurer un monument. Parce que c'est vrai qu'elle est grande, cette télé !
Le pied rotatif évite d'avoir à tourner le poste manuellement. Vraiment, je le trouve petit par rapport à la masse globale de la télé. A nouveau, je crains que cela ne soit pas très stable.

La façade est sobre, on a juste le logo de la marque Thomson gravé en relief métallique à gauche, 144 Hertz gravé à droite et c'est tout.


Les bords sont quasi-inexistants, l'image occupe toute la surface utile. Cela change des bords épais des anciennes télévisions. Espérons que ce ne soit pas une cause de fragilité.
De profil, le téléviseur impressionne aussi par sa finesse.

Je ne l'avais pas trouvé au début (je cherchais sur les côtés), mais le bouton physique permettant l'allumage est positionné en dessous du téléviseur, à l'emplacement de la diode blanche. En revanche, ils ont fait l'impasse sur les boutons chaînes, volume et AUX qui étaient présents sur les anciens modèles de TV. Il ne faut surtout par perdre la télécommande !
Dans un prochain article, nous verrons sa mise en service.

